2026년 4월 9일, 미국 특허청(USPTO)이 공개한 **Tesla(테슬라)**의 한 문건이 테크 업계를 술렁이게 했습니다. 모두가 화려한 AI 알고리즘을 예상했지만, 정작 베일을 벗은 특허 US20260097493A1은 20페이지에 걸쳐 오로지 ‘무릎’ 하나만을 집요하게 다루고 있었기 때문입니다. 시니어 기계 엔지니어 Rod Jafari가 단독 발명자로 이름을 올린 이 특허에는 뉴럴 네트워크도, 월드 모델도, 자율주행에 대한 거창한 수사도 없습니다. 그저 두 개의 링크 멤버와 하나의 리니어 액추에이터(Linear actuator), 그리고 정교하게 배치된 네 개의 피벗(Pivot)이 있을 뿐입니다. 목표는 명확합니다. 가성비와 성능이라는 두 마리 토끼를 잡아 휴머노이드를 제대로 걷게 만드는 것이죠.
이 특허의 뿌리는 2022년 9월 30일, 테슬라가 두 번째 AI Day에서 ‘범블비(Bumble-C)’ 프로토타입을 선보였던 날로 거슬러 올라갑니다. 당시 엔지니어들은 로봇의 무릎을 인체 생물학에서 영감을 얻은 ‘4절 링크 관절(four-bar link joint)‘이라고 설명했죠. 그로부터 3년 반이 지난 지금에야 비로소 특허 기록이 그 실체를 증명한 셈입니다. 이는 최근 일론 머스크(Elon Musk)가 X(구 트위터)를 통해 3월 말부터 돌아다니기 시작했다고 언급한 ‘옵티머스 3(Optimus 3)‘에 탑재된 바로 그 무릎일 가능성이 매우 높습니다. 흥미로운 점은 최종 디자인보다도, 테슬라가 이 결론에 도달하기까지의 사고 과정을 보여주는 도표입니다.
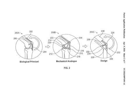
특허 도면 FIG. 2는 일종의 ‘기원설’을 보여줍니다. ‘생물학적 원리(인간의 무릎)‘에서 시작해 ‘기계적 아날로그(추상화된 링크 구조)‘를 거쳐 최종적인 ‘디자인’으로 진화하는 3단계 과정을 가감 없이 드러냅니다. 특허 문서에서 이토록 노골적으로 설계 의도를 설명하는 경우는 흔치 않습니다. 이 도면은 사실상 이렇게 선언하고 있습니다. “우리가 이 구조를 선택한 이유는, 이미 자연에서 완벽하게 검증된 설계를 그대로 복제했기 때문이다.” 테슬라는 ‘역 호켄 링크(inverse Hoecken’s linkage)‘를 변형한 메커니즘을 통해, 단 하나의 작은 액추에이터만으로도 약 150도에 달하는 광활한 가동 범위를 확보하는 데 성공했습니다.

인간의 무릎은 효율성의 극치입니다. 무릎뼈(슬개골)는 움직이는 도르래 역할을 하며 대퇴사두근의 지렛대 원리를 조절하고, 보행 시 가장 힘이 필요한 순간에 최대 토크를 뿜어냅니다. 또한 무릎 관절은 단순히 한 점을 축으로 회전하지 않습니다. 십자인대의 유기적인 움직임 덕분에 회전 중심이 유연하게 이동하는데, 테슬라는 이 기하학적 묘수를 기계적으로 구현했습니다. 특허에 따르면, 액추에이터가 불과 60도만 움직여도 하퇴부(종아리 부분)는 거대한 각도로 휘둘러집니다. 최소한의 움직임으로 최대한의 보폭을 만들어내는 셈입니다.

이것이 왜 중요한가?
단순히 영리한 엔지니어링의 결과물이라서가 아닙니다. 이것은 휴머노이드의 ‘대량 생산’을 가능케 할 핵심 열쇠이기 때문입니다. 특허 전반에 깔린 철학은 철저하게 ‘비용 절감’에 맞춰져 있습니다. 단일 리니어 액추에이터는 멀티 모터 관절보다 훨씬 저렴하고 가벼우며 구조도 단순합니다. 전력 효율이 높다는 것은 더 작고 가벼운 배터리를 쓸 수 있다는 뜻이고, 이는 곧 로봇 전체의 무게와 단가를 낮추는 선순환으로 이어집니다. 옵티머스를 2만3만 달러(약 2,700만4,000만 원)에 팔겠다는 머스크의 호언장담이 현실이 되려면, 관절 하나에서 아낀 몇 그램과 몇 달러가 수백만 대의 생산 공정에서 곱절로 돌아와야 합니다.
이러한 집요한 하드웨어 최적화를 보고 있으면, 프리몬트 공장의 모델 S와 모델 X 라인을 옵티머스 생산 라인으로 대체하겠다는 테슬라의 계획이 마냥 허무맹랑하게만 들리지는 않습니다. 물론 이 디자인이 완전히 독창적인 것은 아닙니다. 전문가들은 2025년 말 공개된 **Xpeng(샤오펑)**의 차세대 휴머노이드 ‘IRON’ 역시 놀라울 정도로 유사한 변형 역 호켄 링크 구조를 사용하고 있다는 점을 지적합니다. 하지만 테슬라가 이미 2022년에 이 설계를 공개했다는 점을 고려하면, 이는 모방이라기보다 최적의 해답을 향해 달려가는 ‘수렴 진화’의 결과물로 보는 것이 타당할 것입니다.
진화는 수백만 년에 걸쳐 무릎의 기하학적 구조를 완성했습니다. 테슬라는 이를 한정된 예산 안에서, 그것도 아주 빠르게 재현해내야 합니다. 이번 특허는 테슬라가 그 불가능해 보이는 미션을 어떻게 돌파하려 하는지 보여주는 흥미로운 이정표입니다.

